


| 型号 | |
|---|---|
| 軸承(cheng) | SNV190-L |
| 座軸承 | 22318-E1-K |
| 緊定(ding)套 | H2318X302 |
| 止動環 2件(jiàn) | FRM190/5 |
| 雙唇密封圈(quān) | DH518 |
| 帶O形圈的 迷(mí)宮密封圈 | TSV518X302 |
| 毛(máo)氈密封 | FSV518 |
| V型圈(quān) | DHV518 |
| Taconite 密封 | TCV518X302 |
| 軸承蓋(gài) | DKV160 |
| 尺寸 | |
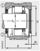
| d 1 mm | 79.375 |
| d 1 inch | 3 1/8 |
| a | 380 |
| g | 155 |
| h 1 | 229 |
| b | 110 |
| c | 40 |
| D | 190 |
| g L | 170.3 |
| g v | 163 |
| g T | 178 |
| g 3 | 15 |
| h | 112 |
| m | 320 |
| u | 26 |
| v | 32 |
| s mm | M24 |
| s inch | 7/8 |
| 質量m 軸(zhóu)承座 ≈kg | |
| 質量m 軸(zhou)承座 ≈kg | 22 |

•·
• •